Novos Produtos
TIRANTE VERTICAL HIDRÁULICO PARA TRATOR - SAME 90/45MIN.720 TIPO (1) Φ 28/28
Uso para tratores:
Tipo de trator:
SAME
Modelo de trator:
Titan Super Titan 145 - 160 - Rubin 135 - 160 – Elios 130 DT
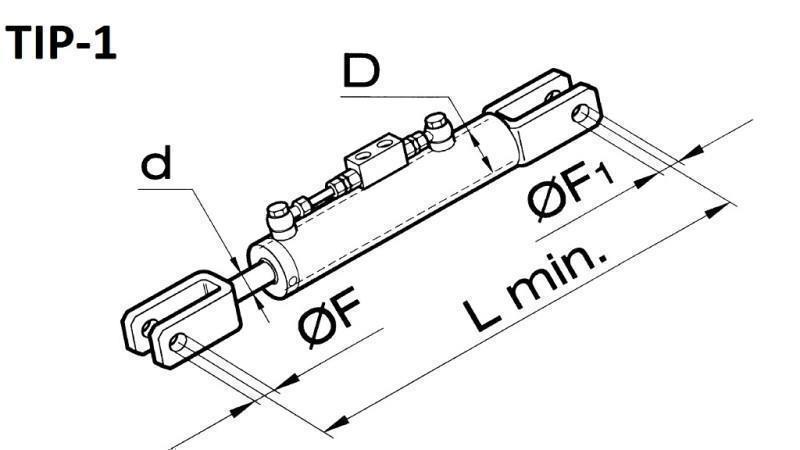
Descrição geral:
O terceiro ponto hidráulico (eng. top side link ou side third point, ger. seitliche hubstrebenverstellung) é essencialmente um cilindro hidráulico padrão de dupla ação com conexões soldadas para montagem nos braços hidráulicos do trator. Ele serve para ajuste individual da altura dos braços do sistema hidráulico de três pontos. Também pode servir para reforço adicional dos braços ou aumento da capacidade de carga.
Todos os terceiros pontos hidráulicos são também equipados com uma válvula de bloqueio, que serve para segurança (em caso de dano na mangueira hidráulica, o cilindro do terceiro ponto permanece na mesma posição, assim como a conexão do trator). A válvula de bloqueio também garante que as mangueiras não estejam sob pressão e, assim, não sobrecarreguem a válvula hidráulica do trator durante a condução devido a vibrações.





